Generator Wiring Diagram – Understand Your Circuit Design Better with a Detailed Generator Wiring Diagram
Generators are essential tools that provide backup power during outages or in remote areas where electricity is not readily available. Proper wiring of a generator is crucial to ensure it functions safely and efficiently. In this article, we will discuss the importance of generator wiring diagrams and how they can help you properly connect your generator to your electrical system.
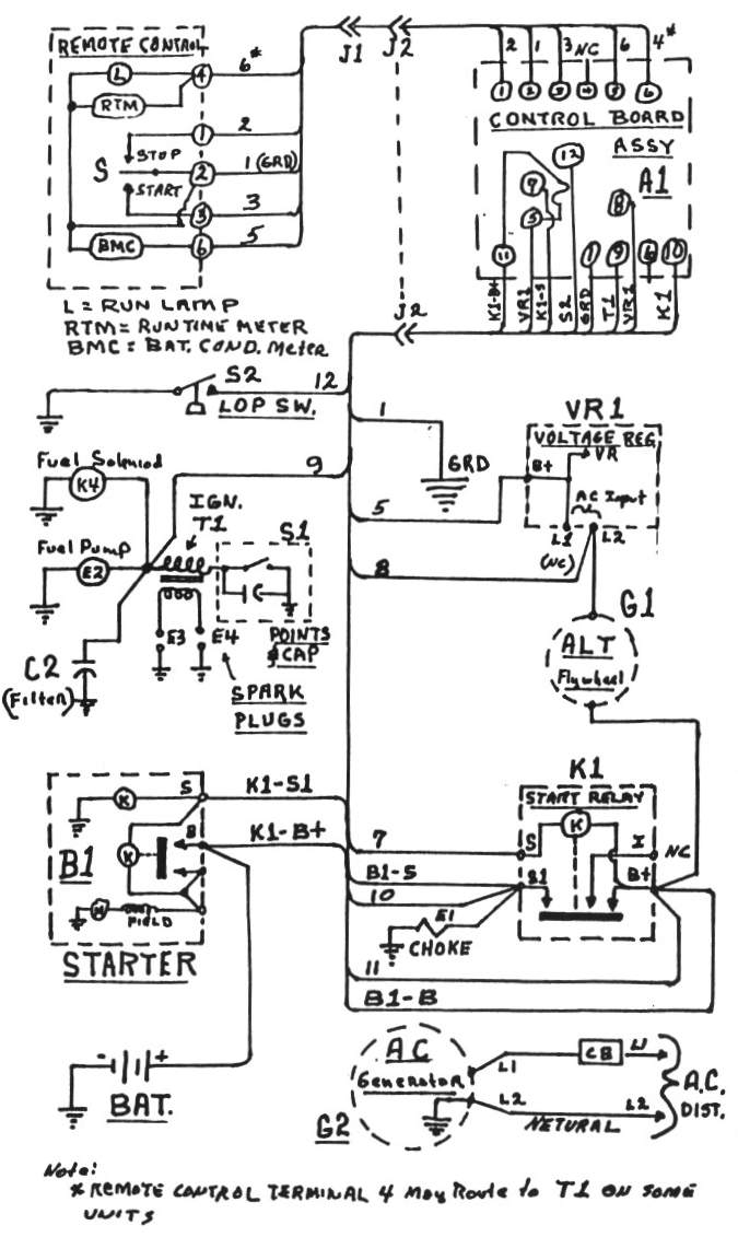
Generator wiring diagrams are detailed illustrations that show the electrical connections and components of a generator. They provide a visual representation of how the generator should be wired to ensure correct installation and operation. By following a generator wiring diagram, you can avoid potential hazards such as electrical shocks, fires, or damage to your generator.
Whether you’re handling a house renovation or repairing your car, having a easy-to-read electrical schematic is important. It helps you see how circuit elements are linked and ensures a secure, efficient setup.
Whether you’re a small business owner, HR professional, or independent contractor, using aprintable payroll form helps ensure compliance with regulations. Simply get the template, print it, and fill it out by hand or type directly into the file before printing.
A wiring diagram visually represents electrical circuits, showing the paths for current flow and how different modules like switches, outlets, protective devices, and connectors interact. This makes it easier to troubleshoot issues, enhance systems, or set up circuits without confusion.
Generator Wiring Diagram
Many websites offer no-cost or editable wiring diagram templates for cars, household electronics, LED setups, and more. These diagrams are particularly useful for hobbyists, electricians, and engineers who need reliable references.
By using a proper wiring diagrams, you avoid faults, cut down time, and ensure all electrical work is done correctly. Don’t start your next project blindly—search for a professional wiring diagram and build safely today!
Download and Print Generator Wiring Diagram
Onan 4000 Generator Wiring Diagram Artsist
Onan 8 0 Generator Wiring Diagram
DIAGRAM Wiring Diagram Onan Generator MYDIAGRAM ONLINE
Onan Generator Electrical Schematics Wiring Diagram
Fg Wilson Generator Wiring Diagram
Generator Wiring Diagram
One of the key components of a generator wiring diagram is the transfer switch. This switch is essential for safely connecting your generator to your home’s electrical system. The transfer switch ensures that power from the generator is isolated from the utility grid, preventing backfeeding and protecting utility workers.
In addition to the transfer switch, generator wiring diagrams also show the proper connection of grounding wires, circuit breakers, and outlets. These components play a crucial role in ensuring the safe and efficient operation of your generator. Following the wiring diagram will help you properly install and maintain these components, reducing the risk of electrical hazards.
Another important aspect of generator wiring diagrams is the sizing of wires and breakers. Properly sized wires and breakers are essential for preventing overheating and electrical fires. The wiring diagram will specify the correct wire gauge and breaker size for your generator, ensuring that your electrical system can handle the power output of the generator.
Overall, generator wiring diagrams are valuable tools that can help you safely and effectively connect your generator to your electrical system. By following the wiring diagram, you can ensure that your generator operates correctly and efficiently, providing you with reliable backup power when you need it most.
In conclusion, generator wiring diagrams are essential for safely connecting your generator to your electrical system. By following the guidelines provided in the wiring diagram, you can ensure that your generator functions properly and efficiently. Remember to always consult a professional electrician if you are unsure about any aspect of generator wiring to avoid potential hazards and ensure the safety of your home and family.
